時間:2018-10-30 15:10:57 品牌: 依愛
![[!--oldtitle--]](/d/file/baojingshebei/2018-10-30/feffe07074ad2c77405711b2951ea651.jpg)
一、J-EI6032EN中繼(jì)模塊性能特點(diǎn)
·電(diàn)子編(biān)碼,唯一ID,控制器在線編(biān)址或編(biān)碼器設地址,自動登錄,安裝調試方便。
·内含CPU和智能軟件,智能化程度高。四線制無極性,插拔式結構(gòu),接線方便,外形美觀(guān)。
·可爲非編碼火災探測器(線型光束感煙火災探測器、線型感溫火災探測器、點型紅外/紫外火焰探測器等)提供可複位DC24V電源,並(bìng)接收其的報(bào)警信号。
·可檢測配接的非編(biān)碼火災探測器的狀态信息(正常、斷線、火警)及DC24V電源斷線故障。有“火警”燈可直觀指示巡檢與報(bào)警狀态,“故障”燈可直觀指示斷線故障。
二、J-EI6032EN中繼(jì)模塊(kuài)技術指标
| 使用環境溫度 | -10°C~50°C |
| 使用環境濕度 | ≤95%RH(不凝露) |
| 總線工作電壓 | 24V脈動電壓 |
| 線制 | 兩總線(無極性) |
| 24V電源 |
DC24V±1015% DC24V電源(無極性) |
| 監視電流 | ≤1.5mA(總線) |
| 總線長度 | ≤2000m |
| 報警電流 | ≤2.0mA(總線) |
| 負載電阻 | 1/4W3kW(紅色套管) |
| 監視電流 | ≤5.2mA(DC24V電源) |
| 電源-大輸出電流 | ≥200mA |
| 外殼防護等級 | IP30 |
| 報警確認燈 | 紅色,巡檢閃亮,報警常亮 |
| 故障確認燈 | 黃色,接收故障信号時常亮 |
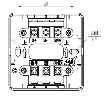
三、J-EI6032EN中繼(jì)模塊(kuài)安裝與接線
·EI6032EN模塊採(cǎi)用插拔式結構,接線端子位於(yú)EI6039底座上,利用底座上安裝孔用M4螺釘固定(注意方向),連接線從底座穿線孔進入,接線完成後再将模塊插入底座。
EI6032EN模塊一般安裝在配接非編(biān)碼探測器等外部設備(bèi)附近。
·EI6032EN模塊(kuài)的底部示意圖(tú):

·EI6039模塊底座上有六個帶(dài)字母标識的接線端子,“S+”、“S-”分别爲總線正極、負極輸入,“24V”、“GND”分别爲DC24V電(diàn)源的正極、負極輸入。“S+”、“S-”接入EI-6000系列控制器的回路總線,“24V”、“GND”接入控制器的主機電(diàn)源或DC24V外設電(diàn)源。
“電源”爲中繼模塊向非編碼探測器等外部設備(bèi)提供的電源端,“信号”爲非編碼探測器等外部設備(bèi)返回的信号端。每個接線端子所接導線數量應不大於(yú)2根。
·與提供火警一組觸點的非編(biān)碼探測(cè)器連接方式:
3k電阻與觸點並(bìng)聯直接接於(yú)“電源”、“信号”端。
對於(yú)保護變(biàn)壓器的感溫電纜應使用帶屏蔽層的産品,屏蔽層應可靠接地。以防止因感應引入高電壓損壞中繼模塊。